SRBIW籃式過濾器產品概述
SRBIW籃式過濾器是一種接口端面型式為對焊連接,適用于管道中去除易燃、易爆、有毒介質中的固體雜質的管道元件。它由帶進出液口的筒體、蓋板和濾籃等部件組成,蓋板通過多套螺栓結構擰緊固定到焊接在筒體頂端與之配套的連接法蘭上,并在兩者接觸外圍設置有密封圈,筒體內部呈45°角度斜置焊裝有橢圓環形隔離板,而由帶提手的斜口型濾框和密布有過濾孔的濾網兩部分組成的濾籃則套裝在其上,濾框頂部平面也為橢圓形,并與隔離板呈相配合的斜度,從而將液體入口和出口分隔開來,使得帶有固體顆粒物的介質必須先由進液口進入濾籃內經濾網過濾干凈后,才可從出液口流出。本產品按結構型式分為直通平底籃式過濾器和直通封頭籃式過濾器兩種,對應型號為SRBI5、SRBIW和SRBII5、SRBIIW。
SRBIW籃式過濾器部件材料
| 序號 | 部件名稱 | 材料名稱 | |||||
| 1 | 筒 體 | 20# | Q345 | 304 | 304L | 316 | 316L |
| 2 | 接 管 | 20# | Q345 | 304 | 304L | 316 | 316L |
| 3 | 隔 離 板 | Q235B | Q345 | 304 | 304L | 316 | 316L |
| 4 | 筒體法蘭 | 20# | Q345 | 304 | 304L | 316 | 316L |
| 5 | 密封墊片 | 聚四氟乙烯、金屬環形墊、金屬纏繞墊(帶內外環) | |||||
| 6 | 蓋 板 | Q235B | Q345 | 304 | 304L | 316 | 316L |
| 7 | 濾 籃 | 304 | 304 | 304 | 304L | 316 | 316L |
| 8 | 底 板 | Q235B | Q345 | 304 | 304L | 316 | 316L |
| 9 | 排放螺塞 | 304 | 304 | 304 | 304L | 316 | 316L |
SRBIW籃式過濾器性能規范
| 公稱壓力PN(MPa) | 1.0 | 1.6 | 2.5 | 4.0 | 2.0 | 5.0 |
| 水壓強度試驗壓力(MPa) | 1.5 | 2.4 | 3.75 | 6.0 | 3.0 | 7.5 |
| 氣密性試驗壓力(MPa) | 1.0 | 1.6 | 2.5 | 4.0 | 2.0 | 5.0 |
| 設計制造 | SH/T 3411-2017石油化工泵用過濾器選用、檢驗及驗收規范 | |||||
| 對焊端部 | 符合GB/T 12459、SH/T 3408、ASME B16.9、ANSI B16.9的規定 | |||||
| 檢驗試驗 | SH/T 3411-2017石油化工泵用過濾器選用、檢驗及驗收規范 | |||||
| 濾網規格 | 2目 ~ 600目 | |||||
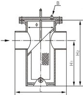
SRBIW籃式過濾器主要尺寸
| 公稱壓力 PN | 公稱通徑 DN | 結構尺寸/mm | 排放口 B | ||||
| ?1 | ? | L | H1 | H2 | |||
| 10 | 25 | 32 | 89 | 220 | 160 | 260 | R ? |
| 32 | 38 | 89 | 220 | 165 | 270 | R ? | |
| 40 | 45 | 114 | 280 | 180 | 300 | R ? | |
| 50 | 57 | 114 | 280 | 180 | 300 | R ? | |
| 65 | 76 | 140 | 330 | 220 | 350 | R ? | |
| 80 | 89 | 168 | 340 | 260 | 400 | R ? | |
| 100 | 108 | 219 | 420 | 310 | 470 | R ? | |
| 125 | 133 | 273 | 500 | 430 | 620 | R ? | |
| 150 | 159 | 273 | 500 | 430 | 620 | R ? | |
| 200 | 219 | 325 | 560 | 530 | 780 | R ? | |
| 250 | 273 | 426 | 660 | 640 | 930 | R ? | |
| 300 | 325 | 478 | 750 | 840 | 1200 | R ? | |
| 表中未列出的其他規格參數,請咨詢汗越閥門技術部! | |||||||
SRBIW籃式過濾器結構圖



