加長型側流式T型過濾器產品概述
SRT2加長型側流式T型過濾器是一種宜安裝在管道90°拐彎處,過濾介質中的固體雜質,從而使泵閥、機器設備、儀表等能正常工作和運轉,達到穩定工藝過程,保障生產的裝置,其同心大小頭濾芯依靠濾筒母材鋼板的張力卡接在卡槽與盲法蘭之間,將進出口隔開,這樣物料從入口端進入后,先流入到濾芯內,經濾筒上包縛的濾網將固體顆粒過濾干凈后,才從出料口流出。而相比相同規格的同類產品,該T型過濾器放網部位的結構長度進行了加長,故而增大了它的過濾面積,這樣意味著能夠容納的懸浮物和顆粒物就更多,減少了濾網堵塞的可能性,進而延長了濾芯的清洗時間間隔,減輕了勞動強度。而用于本產品制作的三通管件接口外徑以及其他尺寸的偏差按GB/T 12459-2017的規定。
加長型側流式T型過濾器部件材料
| 序號 | 部件名稱 | 材料名稱 | ||||
| 1 | 等徑三通 | 20# | 12Cr5Mo | 06Cr19Ni10 | 06Cr17Ni12Mo2 | 022Cr17Ni12Mo2 |
| 2 | 接 管 | 20# | 12Cr5Mo | 06Cr19Ni10 | 06Cr17Ni12Mo2 | 022Cr17Ni12Mo2 |
| 3 | 濾 座 | Q235-B | 12Cr5Mo | 06Cr19Ni10 | 06Cr17Ni12Mo2 | 022Cr17Ni12Mo2 |
| 4 | 法 蘭 | A105 | 12Cr5Mo | 06Cr19Ni10 | 06Cr17Ni12Mo2 | 022Cr17Ni12Mo2 |
| 5 | 墊 片 | 聚四氟乙烯、金屬環形墊、金屬纏繞墊(帶內外環) | ||||
| 6 | 端 蓋 | Q235-B | 12Cr5Mo | 06Cr19Ni10 | 06Cr17Ni12Mo2 | 022Cr17Ni12Mo2 |
| 7 | 排污堵頭 | 06Cr19Ni10 | 06Cr19Ni10 | 06Cr19Ni10 | 06Cr17Ni12Mo2 | 022Cr17Ni12Mo2 |
| 8 | 濾 筒 | 06Cr19Ni10 | 06Cr19Ni10 | 06Cr19Ni10 | 06Cr17Ni12Mo2 | 022Cr17Ni12Mo2 |
| 9 | 濾 網 | 06Cr19Ni10 | 06Cr19Ni10 | 06Cr19Ni10 | 06Cr17Ni12Mo2 | 022Cr17Ni12Mo2 |
加長型側流式T型過濾器技術規范
| 公稱壓力PN(MPa) | 1.6 | 2.5 | 4.0 | 2.0 | 5.0 |
| 水壓強度試驗壓力(MPa) | 2.4 | 3.75 | 6.0 | 3.0 | 7.5 |
| 氣密性試驗壓力(MPa) | 1.6 | 2.5 | 4.0 | 2.0 | 5.0 |
| 設計制造 | GB/T 14382-2008 管道用三通過濾器 | ||||
| 對焊端部 | 符合GB/T 12459-2017或ASME B16.9-2018的規定 | ||||
| 檢驗試驗 | GB/T 14382-2008 管道用三通過濾器 | ||||
| 工作溫度 | -196℃ ~ 540℃ | ||||
| 過濾精度 | 12000μm ~ 20μm | ||||
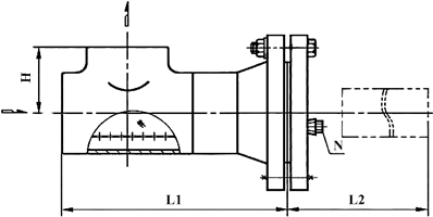
加長型側流式T型過濾器主要尺寸
| 公稱壓力 PN | 公稱尺寸 DN | 安裝尺寸/mm | 過濾面積 cm2 | 排污口N 管螺紋 | ||
| H | L1 | L2 | ||||
| 16 | 50 | 64 | 338 | 326 | 210 | R ? |
| 65 | 76 | 408 | 393 | 295 | R ? | |
| 80 | 86 | 451 | 436 | 406 | R ? | |
| 100 | 105 | 556 | 532 | 520 | R ? | |
| 125 | 124 | 602 | 584 | 870 | R ? | |
| 150 | 143 | 633 | 600 | 940 | R ? | |
| 200 | 178 | 731 | 698 | 1600 | R ? | |
| 250 | 216 | 817 | 784 | 2400 | R ? | |
| 300 | 254 | 915 | 882 | 3000 | R ? | |
| 350 | 279 | 1043 | 1010 | 4000 | R ? | |
| 400 | 305 | 1106 | 1073 | 5000 | R ? | |
| 表中未列出的其他規格參數,請咨詢汗越閥門技術部! | ||||||
加長型側流式T型過濾器結構圖



