手搖刷式Y型過濾器產品概述
手搖刷式Y型過濾器是一種清洗濾網時不需要拆開殼蓋,可以在線通過轉動濾筒內置的刷子直接將絲網上的濾出物刷下,并經端蓋上設置的排污閥排出系統外的裝置。其通常垂直或水平安裝在管線中,當水流從進水口進入置有相應目數的濾網內后,其中的固體雜質被攔截,并聚積在絲網內表面和沉積在殼體底部排放口處,濾后水則由出水口流出,當需要清洗時,無需停機,更不必拆卸過濾器部件,只需手動開啟排污閥,并輕輕轉動清洗刷手柄數圈,即可將濾網上附著的各類懸浮物和顆粒物刷洗下來,并隨水流經排污閥排出,整個清洗排污過程可在過濾器工作中進行,無需斷流,不影響設備的正常運行,所以,本產品特適用于24小時連續運行的不停機系統。
手搖刷式Y型過濾器部件材料
| 序號 | 部件名稱 | 材料名稱 | |||||
| 1 | 殼 體 | Q235B | 20# | S30408 | S30403 | S31608 | S31603 |
| 2 | 法 蘭 | Q235B | Q235B | S30408 | S30403 | S31608 | S31603 |
| 3 | 過 濾 網 | 304 | 304 | 304 | 304L | 316 | 316L |
| 4 | 刷 子 | 硬質塑料纖維、豬鬃毛、骨質尼龍、不銹鋼 | |||||
| 5 | 轉 動 軸 | Q235B | Q235B | S30408 | S30403 | S31608 | S31603 |
| 6 | 中部殼蓋 | Q235B | Q235B | S30408 | S30403 | S31608 | S31603 |
| 7 | 排 污 閥 | CF8 | CF8 | CF8 | CF3 | CF8M | CF3M |
手搖刷式Y型過濾器性能規范
| 公稱壓力PN(MPa) | 1.0 | 1.6 | 2.5 | 4.0 | 2.0 | 5.0 |
| 水壓試驗壓力(MPa) | 1.5 | 2.4 | 3.75 | 6.0 | 3.0 | 7.5 |
| 氣密性試驗壓力(MPa) | 1.1 | 1.76 | 2.75 | 4.4 | 2.2 | 5.5 |
| 設計制造 | GB/T 14382-2008、HG/T 21637-2021、SH/T 3411-2017 | |||||
| 法蘭標準 | JB/T 81、GB/T 9119、HG/T 20592、HG/T 20615、SH/T 3406、ASME B16.5等 | |||||
| 檢驗試驗 | GB/T 14382-2008、HG/T 21637-2021、SH/T 3411-2017 | |||||
| 濾網目數 | 5目 ~ 150目 | |||||
| 壓力損失 | ≤0.015MPa | |||||
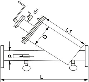
手搖刷式Y型過濾器主要尺寸
| 公稱壓力 PN | 公稱通徑 DN | 結構尺寸 | 流量 t/h | ||||
| d(mm) | D(mm) | L(mm) | L1(mm) | dn(in) | |||
| 10 ~ 25 20 (Class150) | 50 | 57 | 159 | 520 | 330 | ?" | ≤19 |
| 65 | 76 | 159 | 520 | 330 | ?" | ≤28 | |
| 80 | 89 | 159 | 550 | 350 | ?" | ≤50 | |
| 100 | 108 | 219 | 670 | 400 | ?" | ≤80 | |
| 125 | 133 | 219 | 690 | 420 | 1" | ≤125 | |
| 150 | 159 | 273 | 800 | 450 | 1 ?" | ≤180 | |
| 200 | 219 | 325 | 900 | 500 | 1 ?" | ≤320 | |
| 250 | 273 | 426 | 1200 | 580 | 1 ?" | ≤490 | |
| 300 | 325 | 426 | 1300 | 680 | 1 ?" | ≤710 | |
| 350 | 377 | 457 | 1530 | 740 | 2" | ≤970 | |
| 表中未列出的其他規格參數,請咨詢汗越閥門技術部! | |||||||
手搖刷式Y型過濾器結構圖



